Центр продуктов
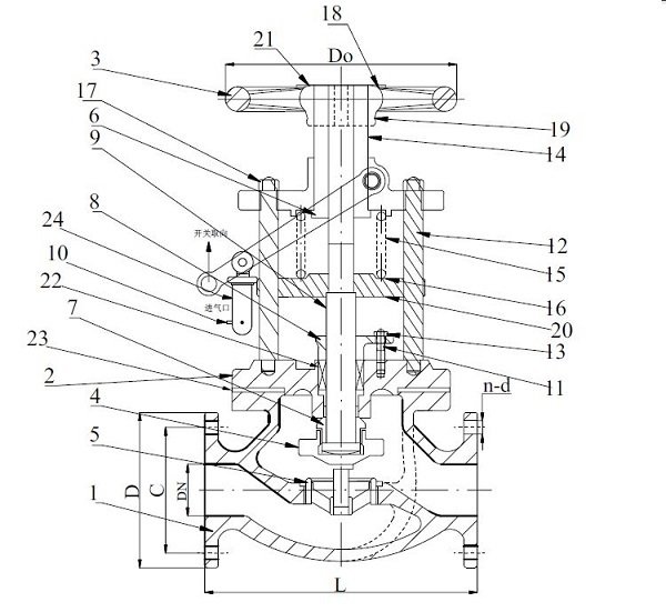
Пневматический аварийный запорный клапан из морской бронзы JIS F7399 5K:
![]()
Аварийный запорный клапан для морского применения используется для перекрытия трубопровода мазута в аварийной ситуации. Он может управляться рычагом или пневмоцилиндром. Дистанционное управление осуществляется пневмоцилиндром.
Тип работы: ручной (рычаг) или пневматический (пневмоцилиндр)
Стандарт конструкции: JIS F7399-1996
Стандарт испытаний: JIS 7400-1996
Давление гидравлического испытания: корпус - 0,7 МПа, седло - 0,2 МПа, уплотнение для быстрого закрытия - 0,1 МПа
Размер фланца согласно JIS B2220 - 5K
Основной материал:
Корпус: бронза или латунь
Колпак: бронза или латунь
Седло: бронза или латунь
Диск: бронза или латунь
Шток: латунь (C3771BD)
Воздушный цилиндр: латунь
Шпиндель управления: SUS403
Рычаг управления: SUS403
Рукоятка: FC200 (чугун)
Прокладка: не асбестовая
Основной список размеров (мм):
DN | d | L | D | C | Bolt Hole NO. | Bolt Hole Diameter | Flange thickness | H | D2 |
5K15 | 15 | 100 | 80 | 60 | 4 | 12 | 10 | 265 | 120 |
5K20 | 20 | 110 | 85 | 65 | 4 | 12 | 10 | 265 | 120 |
5K25 | 25 | 120 | 95 | 75 | 4 | 12 | 10 | 265 | 120 |
5K40 | 40 | 160 | 120 | 95 | 4 | 15 | 12 | 310 | 140 |
5K50 | 50 | 210 | 130 | 105 | 4 | 15 | 14 | 335 | 160 |
5K65 | 65 | 250 | 155 | 130 | 4 | 15 | 14 | 395 | 180 |
5K80 | 80 | 280 | 180 | 145 | 4 | 19 | 18 | 420 | 180 |
10K15 | 15 | 110 | 95 | 70 | 4 | 15 | 12 | 265 | 120 |
10K20 | 20 | 120 | 100 | 75 | 4 | 15 | 14 | 265 | 120 |
10K25 | 25 | 130 | 125 | 90 | 4 | 19 | 14 | 265 | 120 |
10K40 | 40 | 180 | 140 | 105 | 4 | 19 | 16 | 310 | 140 |
10K50 | 50 | 220 | 155 | 120 | 4 | 19 | 16 | 335 | 160 |
10K65 | 65 | 270 | 175 | 140 | 4 | 19 | 18 | 395 | 180 |
10K80 | 80 | 300 | 185 | 150 | 8 | 19 | 18 | 420 | 180 |
Аварийный запорный клапан из морской бронзы JIS F7399 5K:
![]()
Аварийный запорный клапан для морских судов также называется быстрозапорным клапаном для морских судов. Он используется для перекрытия трубопровода топлива/смазочного масла в аварийной ситуации. Он может управляться рычагом или воздушным цилиндром. Материалом может быть литая сталь, бронза, чугун с шаровидным графитом.
Тип работы: ручной (рычаг) или пневматический
Стандарт конструкции: JIS F7399-1996
Стандарт испытаний: JIS 7400-1996
Давление гидравлического испытания: корпус - 0,7 МПа, седло - 0,2 МПа, уплотнение для быстрого закрытия - 0,1 МПа
Размер фланца согласно JIS B2220 - 5K
Основной материал:
Корпус: бронза или латунь
Колпак: бронза или латунь
Седло: бронза или латунь
Диск: бронза или латунь
Шток: латунь (C3771BD)
Шпиндель управления: SUS403
Рычаг управления: SUS403
Рукоятка: FC200 (чугун)
Прокладка: не асбестовая
Основной список размеров (мм):
DN | d | L | D | C | Bolt Hole NO. | Bolt Hole Diameter | Flange thickness | H | D2 |
5K15 | 15 | 100 | 80 | 60 | 4 | 12 | 10 | 265 | 120 |
5K20 | 20 | 110 | 85 | 65 | 4 | 12 | 10 | 265 | 120 |
5K25 | 25 | 120 | 95 | 75 | 4 | 12 | 10 | 265 | 120 |
5K40 | 40 | 160 | 120 | 95 | 4 | 15 | 12 | 310 | 140 |
5K50 | 50 | 210 | 130 | 105 | 4 | 15 | 14 | 335 | 160 |
5K65 | 65 | 250 | 155 | 130 | 4 | 15 | 14 | 395 | 180 |
5K80 | 80 | 280 | 180 | 145 | 4 | 19 | 18 | 420 | 180 |
10K15 | 15 | 110 | 95 | 70 | 4 | 15 | 12 | 265 | 120 |
10K20 | 20 | 120 | 100 | 75 | 4 | 15 | 14 | 265 | 120 |
10K25 | 25 | 130 | 125 | 90 | 4 | 19 | 14 | 265 | 120 |
10K40 | 40 | 180 | 140 | 105 | 4 | 19 | 16 | 310 | 140 |
10K50 | 50 | 220 | 155 | 120 | 4 | 19 | 16 | 335 | 160 |
10K65 | 65 | 270 | 175 | 140 | 4 | 19 | 18 | 395 | 180 |
10K80 | 80 | 300 | 185 | 150 | 8 | 19 | 18 | 420 | 180 |
Пневматический быстрозапорный клапан из морской бронзы JIS F7399 10K:
![]()
Пневматический аварийный быстрозакрывающийся клапан из морской бронзы JIS F7399 используется для отключения трубопровода топлива/смазочного масла в аварийной ситуации с помощью воздушного цилиндра. Он управляется дистанционно воздушным цилиндром.
Стандарт проектирования: JIS F7399-1996
Стандарт испытаний: JIS 7400-1996
Давление гидравлического испытания: корпус - 0,7 МПа, седло - 0,2 МПа, уплотнение для быстрого закрытия - 0,1 МПа
Размер фланца согласно JIS B2220 - 10K
Основной материал:
Корпус: бронза или латунь
Колпак: бронза или латунь
Седло: бронза или латунь
Диск: бронза или латунь
Шток: латунь (C3771BD)
Воздушный цилиндр: латунь
Шпиндель управления: SUS403
Рычаг управления: SUS403
Рукоятка: FC200 (чугун)
Прокладка: не асбестовая
Основной список размеров (мм):
DN | d | L | D | C | Bolt Hole NO. | Bolt Hole Diameter | Flange thickness | H | D2 |
10K15 | 15 | 110 | 95 | 70 | 4 | 15 | 12 | 265 | 120 |
10K20 | 20 | 120 | 100 | 75 | 4 | 15 | 14 | 265 | 120 |
10K25 | 25 | 130 | 125 | 90 | 4 | 19 | 14 | 265 | 120 |
10K40 | 40 | 180 | 140 | 105 | 4 | 19 | 16 | 310 | 140 |
10K50 | 50 | 220 | 155 | 120 | 4 | 19 | 16 | 335 | 160 |
10K65 | 65 | 270 | 175 | 140 | 4 | 19 | 18 | 395 | 180 |
10K80 | 80 | 300 | 185 | 150 | 8 | 19 | 18 | 420 | 180 |
