Центр продуктов
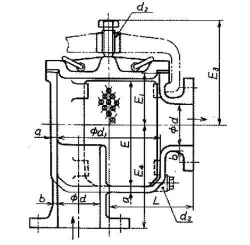
Угловой оцинкованный грязевой ящик JIS F7203 10K:
![]()
Стандарт проектирования: JIS F7203-1996
Стандарт испытаний: JIS 7200-1996
Давление гидравлического испытания: Корпус - 0,1 МПа
Размер фланца согласно JIS B2220 - 10K
Основной материал:
Корпус: чугун с оцинковкой (FC200)
Крышка: чугун с оцинковкой (FC200)
Нажимная крышка: чугун с оцинковкой (FC200)
Сетчатый фильтр: SS400 или SUS304
Main Size List(mm):
DN | d | L | L1 | D | C | No of Bolt Hole | Hole | E |
40 | 40 | 90 | 22.5 | 140 | 105 | 4 | 19 | 145 |
50 | 50 | 120 | 40 | 155 | 120 | 4 | 19 | 145 |
65 | 65 | 150 | 52.5 | 175 | 140 | 4 | 19 | 180 |
80 | 80 | 160 | 55 | 185 | 150 | 8 | 19 | 195 |
100 | 100 | 190 | 70 | 210 | 175 | 8 | 19 | 225 |
125 | 125 | 235 | 87.5 | 250 | 210 | 8 | 19 | 275 |
150 | 150 | 280 | 110 | 280 | 240 | 8 | 23 | 320 |
200 | 200 | 330 | 135 | 330 | 290 | 12 | 23 | 405 |
250 | 250 | 380 | 155 | 400 | 355 | 16 | 25 | 525 |
Грязевой ящик Marine Angle JIS 7203 5K:
![]()
Грязевой ящик используется для остановки всякой всячины и шлама сточных вод в трюмной воде.
Стандарт проектирования: JIS F7203-1996
Стандарт испытаний: JIS 7200-1996
Давление гидравлического испытания: Корпус - 0,1 МПа
Размер фланца согласно JIS B2220 - 5K
Основной материал:
Корпус: Чугун (FC200)
Капка: Чугун (FC200)
Нажим крышки: Чугун (FC200)
Сетчатый фильтр: SS400 или SUS304
Основной список размеров (мм):
DN | d | L | L1 | D | C | Hole (n-d) | t | Height | Weight |
40 | 40 | 90 | 22.5 | 120 | 95 | 4-15 | 16 | 145 | 10.5 |
50 | 50 | 120 | 40 | 130 | 105 | 4-15 | 16 | 145 | 17.7 |
65 | 65 | 150 | 52.5 | 155 | 130 | 4-15 | 18 | 180 | 29.7 |
80 | 80 | 160 | 55 | 180 | 145 | 4-19 | 18 | 195 | 34.3 |
100 | 100 | 190 | 70 | 200 | 165 | 8-19 | 20 | 225 | 48.2 |
125 | 125 | 235 | 87.5 | 235 | 200 | 8-19 | 20 | 275 | 92.8 |
150 | 150 | 280 | 110 | 265 | 230 | 8-19 | 22 | 320 | 156 |
200 | 200 | 330 | 135 | 320 | 280 | 8-23 | 24 | 405 | 305 |
250 | 250 | 380 | 155 | 385 | 345 | 12-23 | 26 | 525 | 435 |
