Центр продуктов
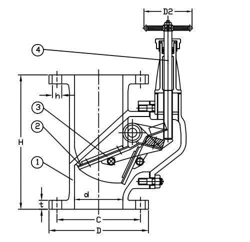
Штормовой клапан из литой стали JIS F3060 5K:
![]()
Стандарт проектирования: JIS F3060-1996
Стандарт испытаний: JIS 7400-1996
Размер фланца согласно JIS B2220 - 5K
Основной материал:
1-Корпус: Литая сталь (SC480)
2-Седло: Резина (NBR)
3-Диск: Бронза (BC6)
4-Стержень: Нержавеющая сталь (SUS403)
Основной список размеров (мм):
DN | H | D | C | No. | hole | t | D2 |
50 | 210 | 130 | 105 | 4 | 15 | 16 | 100 |
65 | 240 | 155 | 130 | 4 | 15 | 18 | 100 |
80 | 260 | 180 | 145 | 4 | 19 | 18 | 125 |
100 | 280 | 200 | 165 | 8 | 19 | 20 | 125 |
125 | 330 | 235 | 200 | 8 | 19 | 20 | 125 |
150 | 360 | 265 | 230 | 8 | 19 | 22 | 125 |
200 | 459 | 320 | 280 | 8 | 23 | 24 | 125 |
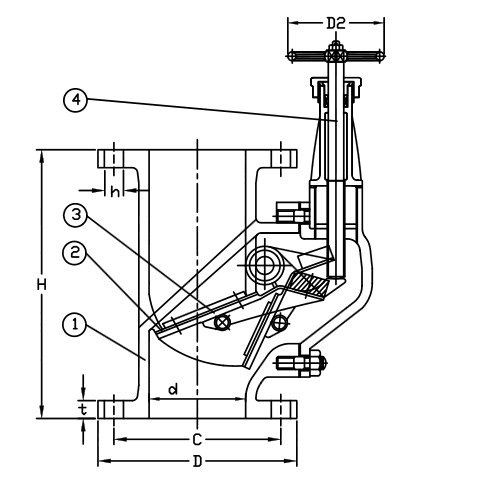
Штормовой клапан из литой стали JIS F3060 10K:
![]()
Стандарт проектирования: JIS F3060-1996
Стандарт испытаний: JIS 7400-1996
Размер фланца согласно JIS B2220 - 10K
Основной материал:
1-Корпус: Литая сталь (SC480)
2-Седло: Резина (NBR)
3-Диск: Бронза (BC6)
4-Стержень: Нержавеющая сталь (SUS403)
Основной список размеров (мм):
DN | L | D | C | No. | h | t | D2 |
50 | 210 | 155 | 120 | 4 | 19 | 20 | 100 |
65 | 240 | 175 | 140 | 4 | 19 | 22 | 100 |
80 | 260 | 185 | 150 | 8 | 19 | 22 | 125 |
100 | 280 | 210 | 175 | 8 | 19 | 24 | 125 |
125 | 330 | 250 | 210 | 8 | 19 | 24 | 125 |
150 | 360 | 280 | 240 | 8 | 23 | 26 | 125 |
